Mazda ‘chơi lớn’, nghiên cứu khung xe làm từ một loại vật liệu đắt đỏ?

Các tài liệu kỹ thuật từ Mazda cho thấy một loại khung gầm sử dụng vật liệu mới đang được hãng nghiên cứu.

Mazda sẽ phát triển khung xe từ vật liệu mới?

Trong cả quá khứ và hiện tại, Mazda được biết đến là một hãng xe yêu thích các phương tiện có trọng lượng nhẹ. Mẫu xe thể thao đắt giá nhất của hãng, chiếc MX-5 Miata, chỉ nặng dưới 2.400 pound (tương đương 1.088 kg) nhờ chiến lược cắt giảm các chi tiết thừa. 

mz-1708654648.jpg
 

Tuy nhiên, với Mazda, có lẽ đây chưa phải là một giải pháp triệt để. Mới đây, theo chuyên trang về ô tô Motor1, nhà sản xuất ô tô Nhật Bản này có thể đang tìm hiểu về các vật liệu mới cho một sản phẩm có thể sẽ ra mắt trong tương lai gần.

Bước tiến hứa hẹn giúp xe điện nhẹ và chắc chắn hơn

Cụ thể, một bằng sáng chế được cấp cho hãng ô tô chỉ vài ngày trước đi vào chi tiết về các phương pháp và quy trình mà nó sẽ sử dụng để xây dựng một chiếc xe như vậy. 

Tài liệu này không mô tả chi tiết về chiếc xe mà chỉ tiết lộ rằng nó sẽ có bốn cửa. Dựa trên các thông tin được chia sẻ, đây nhiều khả năng không phải một mẫu ô tô thể thao mà sẽ là một chiếc sedan. 

carbon-fiber-chassis-mazda-inline-a
Bằng sáng chế cho thấy một mẫu xe mang phong cách sedan với 4 cửa

Motor1 cho biết Mazda có lẽ đang nghiên cứu công nghệ này để giảm trọng lượng của ô tô trong thời đại điện khí hóa. Các bằng sáng chế khác được công bố gần đây bởi nhà sản xuất ô tô này cho thấy họ đang chăm chỉ tạo ra thêm nhiều xe hybrid và xe thuần điện, với thực tế là cả hai loại này thường nặng hơn so với các xe chạy bằng động cơ đốt trong thuần túy. 

Với thương hiệu ô tô Nhật Bản, cách hiện tại để họ tối ưu mức cân nặng bổ sung này đó là loại bỏ nó từ phần nặng thứ hai của xe (sau hệ dẫn động), tức là thân xe và khung xe.

Sợi carbon là gì?

Sợi carbon là các sợi có đường kính khoảng từ 5 đến 10 micrômet và chủ yếu bao gồm các nguyên tử carbon. Chúng có một số ưu điểm như độ cứng cao, độ bền kéo cao, trọng lượng nhẹ, khả năng chịu hóa chất cao, chịu nhiệt độ cao và co ngót thấp. Những đặc tính này đã làm cho sợi carbon trở nên rất phổ biến trong ngành hàng không vũ trụ, kỹ thuật dân dụng, quân sự và thể thao.

carbon-fiber-chassis-mazda-inline-b
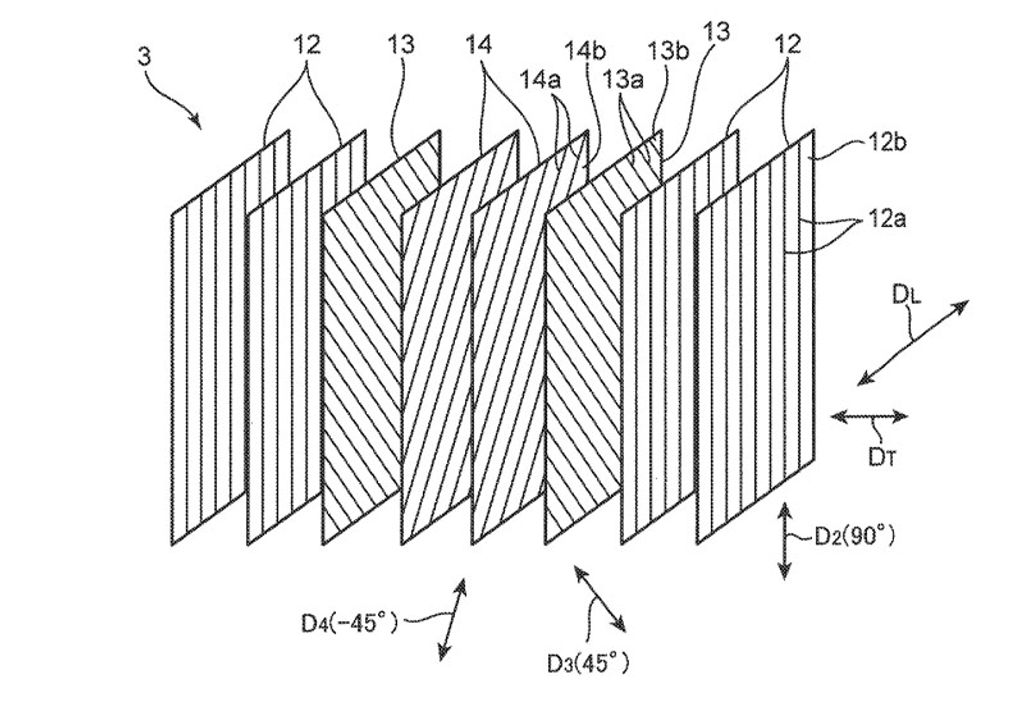
Mazda dự định đan các lớp sợi carbon theo nhiều hướng để tăng sự bền chắc cho khung xe

Mazda dường như đặc biệt quan tâm đến việc đan các lớp sợi cacbon theo các hướng khác nhau để tạo ra những vật liệu được gọi là "quasi-isotropic" (tương đối đồng nhất), tức là chúng sẽ luôn bền chắc dù cho có lực tác động ở bất kỳ hướng nào. 

Kế hoạch của Mazda

Hãng xe Nhật Bản không chỉ nêu cách tạo ra vật liệu này mà còn chỉ ra một số hồ sơ mà thương hiệu dự định sẽ sử dụng cho các bộ phận khác nhau của xe, bao gồm các cột A, B,C, thanh chắn khung và cản xe.

Mazda ‘chơi lớn’, nghiên cứu khung xe làm từ một loại vật liệu đắt đỏ? 410137
Mẫu concept Mazda Iconic SP

Dựa trên các chi tiết pháp lý của tài liệu, Mazda sẽ không đơn độc trong việc phát triển khung gầm này. Bằng sáng chế đã được giao cho cả hai hãng ô tô Nhật Bản cũng như Công ty Nippon Steel Chemical & Material Co., Ltd. Nói cách khác, nhà sản xuất ô tô đang hợp tác với một đối tác có kinh nghiệm trong việc phát triển cấu trúc sợi carbon.

Ở thời điểm này, vẫn chưa thể xác định liệu khi nào người tiêu dùng mới có cơ hội chứng kiến công nghệ vật liệu này được đưa vào sử dụng trong thực tế. Có thể không lâu nữa, Mazda sẽ bán một chiếc sedan hybrid hoặc thuần điện, sử dụng một khung gầm bằng carbon nhẹ hơn đáng kể so với các đối thủ của nó.